background-image

차량 안전과 관리를 위한 통합 솔루션


디지털 운행 기록장치(DTG)부터 영상장치, 차량용품까지
다양한 제품을 제공하여 차량 안전과 효율적인 관리를 지원합니다.

AI관제시스템(FMS)

차량 운행 및 관리를 효율적으로 지원하는 시스템
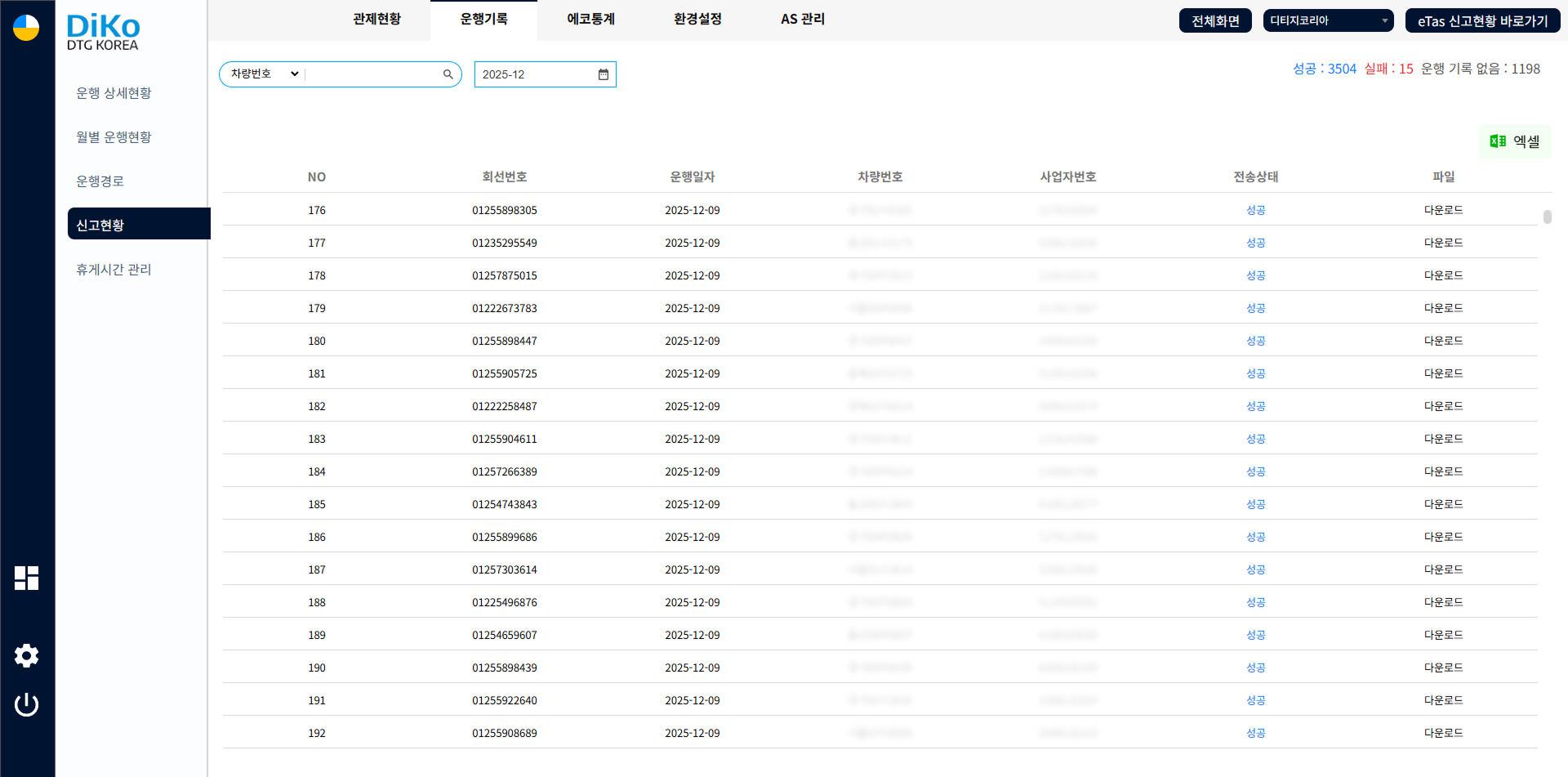
한국교통안전공단 eTAS 운행기록 대행제출기관

한국교통안전
공단 인증
eTAS 자동
제출 시스템
실시간 운행
모니터링
운전자
안전운전 분석
휴게시간
관리

자체 개발한 FMS(Fleet Management System) 플랫폼을 기반으로
차량 운행 데이터를 수집·분석해 실시간 위치 추적과 운행 모니터링,
운전자 행동 분석 등 전반적인 차량 관리를 지원합니다.